Необычное перевоплощение: электрический кроссовер с запасом хода 441 км и грузоподъемностью 420 кг 25 февраля 2025
Готовится обновленный GMC Terrain 2026: внедорожная версия AT4, адаптивные амортизаторы и новые фары 21 февраля 2025
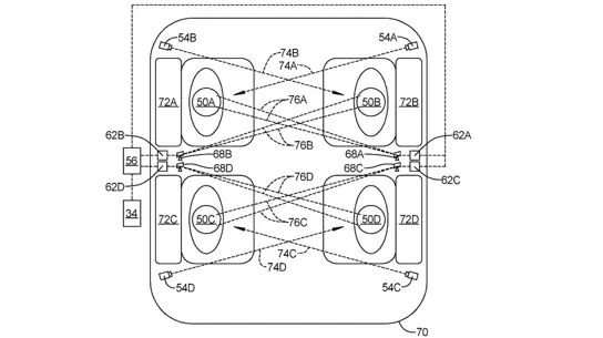
GM разработала суперудобное сиденье для авто: больше не нужно бороться с тяжелыми спинками 01 февраля 2025
Корейские автомобили вернут в Россию: за счет локализации производства цена будет демократичной 23 января 2025
GM останавливает производство: электромобили под угрозой, батарейные заводы не справляются 16 января 2025
Этот автопроизводитель метит на место лучшего семейного кроссовера: Skoda Kodiaq придется не легко 10 января 2025
Никаких изменений - только высокая цена: этот кроссовер обновился только в прайс-листах 02 января 2025
Автономная парковка будущего: GM упрощает жизнь водителям с ограниченными возможностями 31 декабря 2024