16+
  • Aktualności
  • Artykuły

Aktualności

Android Auto 15.2 psuje widżety: pionowy pasek zadań

12:21 13-10-2025

Rodzinne samochody elektryczne: 12 najlepszych modeli

10:52 13-10-2025

Jeep w Consumer Reports: nierówna niezawodność modeli

09:51 13-10-2025

BYD Yangwang U9 Xtreme w Brazylii: 1 sztuka, 3000 KM

08:20 13-10-2025

XPeng bije rekord: 600 latających aut na Bliski Wschód

07:19 13-10-2025

Packard Excellence: ręczne odrodzenie na bazie Bentleya

05:39 13-10-2025

EV bez serwisu? Czemu warsztaty unikają aut elektrycznych

23:30 12-10-2025

Ugoda GM w sprawie 'Shift to Park' – wypłaty dla kierowców

22:23 12-10-2025

Santana Motors wraca: sojusz z Chinami i pickup 2025

21:21 12-10-2025

Zawór PCV: objawy awarii i prosta profilaktyka silnika

19:33 12-10-2025

BMW wprowadza Le Castellet Blue i Grey Pine – nowe lakiery

18:27 12-10-2025

Toyota Tacoma 4x4: akcja serwisowa, wada wału przegubu CV

16:29 12-10-2025

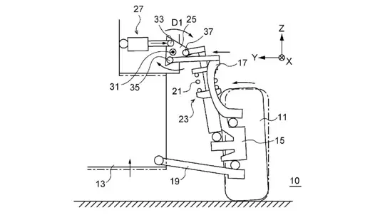
Subaru patentuje zawieszenie: zmienny prześwit i camber

09:50 12-10-2025

Carlex Design Mercedes-AMG G 63 Havana Vintage zachwyca

07:21 12-10-2025

Chery startuje z LEPAS w Europie: L8, 1300 km zasięgu

21:45 11-10-2025

Honda inwestuje 2,6 mln USD w Advanced Materials Lab OSU

17:45 11-10-2025

Xiaomi SU7 już w Europie: ceny importu i wersje Max/Ultra

15:39 11-10-2025

GM wydłuża przestój Hummer EV i Escalade IQ do 2025

13:34 11-10-2025

Lyft i Tensor Robocar: prywatne auto L4, które zarabia

11:49 11-10-2025

Toyota Sienna Hybrid 2025: akcja przywoławcza foteli

11:07 11-10-2025
75 76 77 78 79 80 81

Kontynuując korzystanie z tej strony, akceptujesz naszą Polityka plików cookie oraz Polityka prywatności.

  • Aktualności
  • Artykuły
Regulamin użytkownika
Polityka plików cookie
Polityka prywatności
O nas
Kontakty
2026