MAEXTRO SUV casus fotoğrafları: Ultra lüks Cullinan rakibi mi?
Yeni Toyota RAV4 tanıtımı: Tedarik sıkıntısı ve alım ipuçları
Microlino elektrikli araç Norveç'te satışta: Fiyat, özellikler ve avantajlar
Hyundai Elexio 2026 fiyat artışı ve yeni uygun fiyatlı model
BYD Atto 2 Drive Car of the Year 2026'da en iyi elektrikli araç ödülü
Toyota Land Cruiser 300 geri çağırma: Şanzıman yazılım hatası detayları
BMW M3 elektrikli model geliyor: 1000 kW güç ve yeni strateji
Nissan'ın hareketli batarya patenti: elektrikli araçlarda dinamik sürüş
2026 Ford Mustang Mach-E'de ekipman değişiklikleri ve teknoloji paketi
Tesla FSD Supervised, Avrupa'da insan işaretlerini tanıyor
Apple CarPlay ve CarPlay Ultra: Otomotivde yazılım odaklı strateji
Cadillac 2026'da premium otomotivde güvenilirlik sıralamasında öne çıkıyor
Ferrari'nin motorize bagaj sistemi patentlendi: Lüks ve teknoloji
Elektrikli araçlarda hücreden-gövdeye teknolojisi: yeni trendler
Steeda, 2025 Ford Explorer ST'ye Shelby GT350R frenleri ile performans artışı
BMW 750e xDrive hibrit sedan bağışı: otomotiv eğitiminde teknoloji
Lucid'in 2026 iş gücü azaltması ve elektrikli araç stratejisi
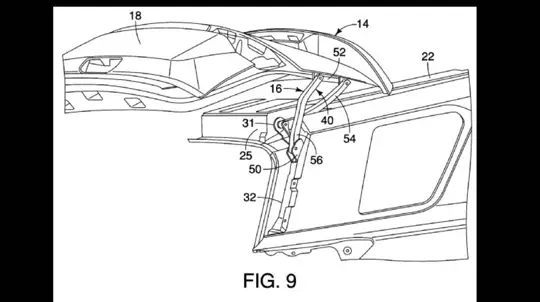
Nissan'ın yeni bagaj kapağı patenti: SUV'ler için dar alan çözümü
Land Rover'ın havada süspansiyon uyarlama sistemi: off-road teknolojisi
Genesis G80 prototipi Kaliforniya'da görüntülendi: Tasarım güncellemeleri
Bu web sitesini kullanmaya devam ederek Çerez Politikası ve Gizlilik Politikası kabul etmiş oluyorsunuz.