Corvette Z06 GT3.R mit neuem Design für 12 Stunden von Sebring 2026
Audi E7X: Neuer elektrischer Crossover mit 900-Volt-Architektur
Neue BMW 3er Touring Generation: Kombi-Alternative zu SUVs
Renault 5 Rückruf: Batterieprobleme und Reputationsschaden
Hennessey Goliath 700: Extreme Variante des Chevrolet Silverado
DS erwägt neues Kompaktmodell zur Verkaufsbelebung
Ford Patent für Pick-up Ladeflächensystem: Gridrack-Schienen
Neuer BMW i3: Elektrische 3er-Reihe mit bis zu 895 km Reichweite
NissanConnect App verliert Support für ältere Modelle wie Leaf und e-NV200
Audi A2 Rückkehr: Elektrischer Crossover 2026 unter 30.000 Pfund
Volkswagen Jetta Rückruf 2025-2026: Montagefehler kann Brandrisiko erhöhen
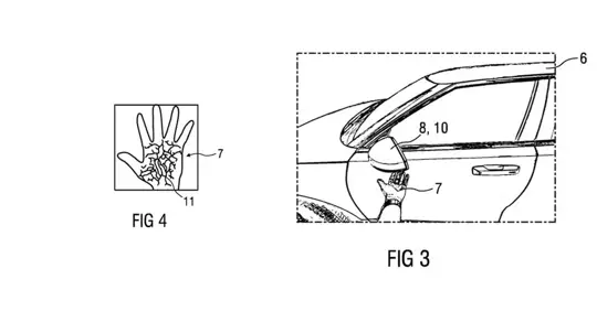
Mercedes-Benz patentiert neue Türtechnologie für einfacheren Ein- und Ausstieg
Alfa Romeo Collezione: Limitierte Sonderserie für Giulia und Stelvio
Jeep in Europa: Flexibilität statt nur Elektroautos
Nissan Warrior-Versionen für Navara und Patrol kehren zurück
Neuer Renault Duster: Preis, Motoren, Ausstattung und Hybrid-Version
Mitsubishi Outlander Plug-in Hybrid 2026: Preis und Updates in Nordamerika
Porsche entwickelt neuen Benzin-Crossover als Macan-Nachfolger
GM startet Austauschprogramm für Ladeadapter bei Elektroautos
Ferrari 849 Testarossa: Neues Supersportwagen-Flaggschiff vorgestellt
Durch die weitere Nutzung dieser Website stimmen Sie unserer Cookie-Richtlinie und unserer Datenschutzrichtlinie zu.