BMW X3 3만6922대 리콜: 조향 소프트웨어 오류, 주차·시동 시 핸들 자의적 움직임 OTA 업데이트
폭스바겐, 美서 356,649대 리콜: 후방 카메라 소프트웨어 결함 및 차주 대응
메르세데스‑벤츠 MB.DRIVE ASSIST PRO, 2026년 미국 도심 주행 보조 출시
현대차그룹 CES 공개: 휴머노이드 아틀라스 2028 조지아 공장 투입, 제조 AI로 안전·품질 강화
전문가가 말한 피해야 할 고급차 5종: 유지비 폭탄과 잦은 고장 — 에스컬레이드·EQE·레인지로버
2020 마쓰다 CX-3 감가 분석: 5년 38~40% 하락, KBB·iSeeCars 비교
KGM 신형 무쏘 2026 공개: 세로형 램프와 ICE·4WD 라인업, 더 단단해진 픽업, 가솔린·디젤 예고
르노 ‘필랑트’ 공개: E세그먼트 대형 크로스오버, 부산 생산·한국 우선 출시, 2026년 1월 서울 공개
홍치 톈궁 06, 고체전지 전기차 팩 실차 테스트 시작 | FAW 첫 양산형 시스템 검증 단계
혼다 액세스, 스텝WGN 스파다 전용 범퍼 와이드 가니시 출시: 정품 스타일링, 가격·호환 정보
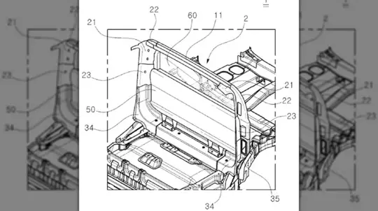
현대차 미드게이트 배수 특허 포착: 픽업 실내 확장과 일상성의 해법 차기 산타크루즈 가능성까지
토요타 랜드크루저 300 하이브리드, 호주서 2026년 3월 출시·가격 전망 성능·연비 비교
BMW iX4 프로토타입 포착: 노이에 클라세 전기 SAC, 2026 공개·더 낮고 날렵한 쿠페형 크로스오버
세계의 슈퍼카 경찰차: 부가티·원-77·우라칸·GT-R·콜벳·우루스, 특별 임무·의전·최고속도
Consumer Reports 발표: PHEV 고장 확률, 가솔린차 대비 80% 높다 — 문제점 요약
2026 링컨 네비게이터 블랙 레이블 L: 롱휠베이스·스페셜 에디션 총액 $135,590 가격 정보
미쓰비시 파제로 부활 신호? 새 플래그십 오프로더 SUV 티저, 실루엣 포착
BYD 송 프로 DM-i 롱 레인지, CLTC 200km… 2026년 1월 10일 중국 출시
알파 로메오 토날레 2026: 콰드리폴리오 PHEV 루머, 400마력 기대와 성능 전망 및 플랫폼 변화
페라리, 예측형 능동 공력 특허 공개로 선제 다운포스 구현 예고—2025~2026 로드카 적용 전망
이 웹사이트를 계속 이용하면 쿠키 정책 및 개인정보 처리방침에 동의하는 것으로 간주됩니다.